안녕하세요
이번시간은 강관틀비계에 대해
상세히 알아보겠습니다.
강관틀비계가 뭔지 궁금 한시분도
계실꺼라 생각됩니다

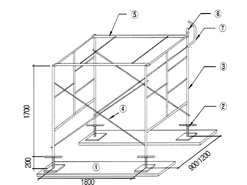
위 사진은 강관비계

강관비계 전체 높이는 원칙적으로 45m를
초과 할 수없으며 높이가 20m를 초과하는
경우 중량작업을 한는 경우에는 내력상
중요한 틀의 높이를 2m이하로 하고 주틀의
간격을 1.8m 이하로 하여야 합니다 ,
주틀의 간격이 1.8m 일 경우에는 주 사이의
하중한도를 4.0kn으로 하고 주틀의 간격이 1.8m를
넘지 않아야 하며 그 역비율로 하중한도를
증가할수 있습니다.. 주틀의 기둥관 1개당 수직하중의
한도는 견고한 기초 위에 설치해야 합니다.
주틀의 기둥재 바닥은 작용하는 하중을 안전하게
기초에 전달할 수 있도록 받침 철물을 사용하거나
견고한 기초 위에 놓여져야합니다. 다만 주틀의
바닥에 고저 차가 있을 경우에는 조절형 받침
철물을 사용하여 각 주틀을 수평과 수직으로
유지하여야합니다 연약지반에서는 받침 철물의 하부에
적당한 접지면적을 확보 할수 있도록 깔판을 깔아주는
것을 원칙으로 합니다. 주틀의 최상부와 다섯단
이내마다 띠장틀 또는 수평재를 설치하여야합니다.
비계모서리 부분에서는 주틀 상호간을 비계용 강관과
클램프로 견고히 결속하고 주틀의 개구부에는
난간을 설치하여야 합니다.
교차가새는 각단 스팬마다 설치하고 결속 부분은
진동등으로 탈락하지 않도록 이탈방지를 하여야 합니다.

위사진이동식 강관비계
강관비계틀은 간단하게 말하면
구조물 작업시 연결된 비계를 말한다.

통상 PT아시바 또는 BT아시바라고 합니다
현장에서 외관에 타일 또는 대리석,페인트, 전기,
외관조명 ,샤시작업,유리 작업 등을 할때 사용하는
파이프 관이라고 생각하시면 되겠습니다.
강관틀비계는 건물 크기와 사용기간체 따라
비용을 청구하는데요 한번 설치가 끝나고
나면 공사가 끝날 시점에 모두 철거를 합니다.
건물 리모델링을 준비하시는 분은 도로점령허가를
시청이나 구청에 가서 받은 다음 비계설치를
하면 되는데요

이때 주의 사항이 있는데요 참고 해 주세요
첫번째로 강관틀비계기둥의
밑 부분에는 밑 받침 철물을 사용하여 밑받침에
높낮이가 있을 경우에는 조절하여 설치해야하며
강관틀비계가 수평 및 수직을 유지하도록 유지해야합니다
두번째로는 높이가 20M를 초과하거나
중량의 적재를 수반하는 작업을 할경우에는
주틀간의 간격을 1.8M이하로 해야합니다
세번째로는 주틀간에 교차 가새를 설치하고
최상층 및 5층 이내마다 수평재를 설치해야합니다
네번째 수직방향으로 6M,수평방향으로
8M 이내마다 벽이음을 해야합니다
다서번째 길이가 띠 장방향으로 4M이하이고
높이가 10M를 초과하는 경우에는 10M이내마다
띠장 방향으로 버팀 기둥을 설치해야합니다
이상 강관비계설치 준수사항입니다


시스템 비계

저층 상가건물을 건축할때는 시스템 비계를 많이 사용합니다.

해외에서는 아직도 비계를 나무로 하는 경우도 많아서..
우리나라에서는 볼수 없는 광경을 많이 볼수 있습니다.
건축에 대한 정확한 구조설계와 관련 법이 없어서
나무로 비계를 하는 경우가 허다합니다.
얼마전 사우디에 다녀 왔는데 상가 10층 가까이 되는 건물도
나무 비계를 이용해서 작업하는 것을 보고 놀라기도 했습니다.


시스템 비계는 구조 계산을 충분히 한다음 설치 하기 때문에
안전사고에 위험이 적다고 할수 있습니다.




비계설치는 기간에 따라 금액이 설정되기 때문에
공사일정을 잘 체크하느 것이 중요합니다
돈버는 인테리어에서는 모든 공사를 준비하기전
계획을 하는데 시간을 더 많이 투자 하셔야
깔끔한 공사가 진행된다는 점 명심해 주셨으면 합니다



항상 신뢰있는 공사문화를 만들기 위해
노력하겠습니다
궁금한점 있으면 댓글 남겨 주세요
감사합니다
그리고 정보 자료방에 가시면
무료견적서 및 계약서를
다운받을 수 있도록 했습니다
참고사이트 산업안전보건법
2020/09/28 - [주택상가 인테리어/기타인테이어] - 지붕공사 얼마에 끝낼수 있을까?
2020/09/25 - [정보 자료방(무료)] - 하도급대금 직불 합의서
2020/09/25 - [정보 자료방(무료)] - 건설 하도급계약서 무료다운(회원가입없음)
2020/09/25 - [정보 자료방(무료)/무료정보방] - 납품확인서 무료다운(회원가입없음)
2020/09/21 - [정보 자료방(무료)/무료정보방] - 무료견적서 회원가입없이 받아가세요 꽁짜!!!
2020/09/10 - [정보 자료방(무료)/건축기초자료] - 세우기용 장비/ 노가다 장비
'정보 자료방(무료) > 건축기초자료' 카테고리의 다른 글
| 1루배(루베)는 대략 1톤트럭 1대 분량이 ..... (0) | 2019.04.23 |
|---|---|
| 공사 하기전 준비사항 (0) | 2019.04.18 |
| 인테리어 표준공사 시방서(Standard Specification of Building Construction)작성하고 공사 시작하자, 무료다운받아가세요 (0) | 2019.04.16 |
댓글